表3-1 加油車的分類及情能參數表

1、加油車結構
加油車通常由氣車底盤、罐體、油管、各種閥、各種工作儀表,過濾器、靜電消除裝置,軟管盤總成,加油槍及驅動裝置等組成。圖3-21為普通加油汽車外形圖。
加油車的罐體與運油車的罐體相似,也具有運油車罐體的基本裝置。圖3-22為大型加油車罐體結構示意圖。橫向隔板1將罐體分成三個艙,每個艙內設有橫向防波板。罐體寬度較大時,可再設縱向防波板。2防護欄6和側防護架7是用來保護加油口,呼吸閥等不受意外碰傷,以免造成燃油外溢。大型罐體還可采用立柱8以提高罐體剛度。
加油車為了具備給受油設備加油、自吸裝油、循環攪油,移動泵站作用,吸回加油軟管中的油液等五種功能,輸油管路也較運油汽車復雜,并設有油泵。圖3-23是一大型加油車的管路系統。該車有四個艙, 每個艙底都裝有一個底閥裝置(見圖3-24),并且為放油方便,在汽車左、右兩側及尾部各設置一個放油閥,以便適應車輛在不同方位上時進行加油作業。
底閥裝置設于每艙底部,并與輸油管道相接,如圖3-24所示,底閥裝置包括底閥和緊急關閉閥兩部分,通常是操縱底閥。在進行加油(即放油)作業時,打開底閥,在運輸時,關閉底閥。緊急關閉閥經常處于打開狀態,只有在裝卸作業中出現意外情況時才關閉。
若底閥用手操縱不方便時,可采用氣動操縱的底閥,如圖3-25所示,閥塞3在彈簧2的作用下緊帖著密封圈4 底閥處于關閉狀態,當活塞9下方進入壓縮空氣時,推動活塞9,活塞桿8,頂起閥桿6,閥塞3上移,底閥打開,若氣控失靈,可擰動螺桿8,使底閥開啟。
放油閥常用的有球閥、蝶閥等。目前各類加油車大多用鋁合金球閥,通徑¢25mm的球閥保留了原閘板閥的外部連接尺寸,通徑¢50mm、¢65mm、¢80mm、¢100mm四種規格的球閥主要尺寸列于表3-2,結構如圖3-26所示。這樣,與管道的連接法蘭尺寸都可實現標準化,軟管接頭和接頭閥亦采用國際通用的通徑¢63.5mm(¢2.5in).

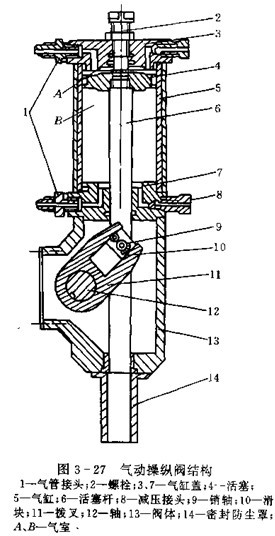
放油閥的操縱形式有手動,液動,氣動和電動等,根據總布置要求確定,手動形式簡單,在無特殊要求時,一般采用手動,為提高機械化程度,也可采用液動或氣動,液動力源可取本車動力轉向系統的壓力油液,氣壓源可取本車制去氣源。電動形式容易引起火災。圖3-27為氣動操縱閥的結構,用來操縱放油閥或其它的控制閥,當氣室A充氣,氣室B排氣時,空氣壓力推動活塞4通過活塞桿6滑塊10使拔叉11轉動,于是轉軸12使放油閥(控制閥)開啟或關閉。
2、加油車油路系統設計
?。?)油路系統要求與組成,根據加油車實際性能要求,通常是按上述的加油車五種功能,確定一個最佳油路系統,滿足作業需要,并力求結構簡單,工作可靠,工芤性良好,容易實現“三化”,管路較短?,F以圖3-28大型加油車的油路系統為例,介紹設計中需注意的一些問題。該車的加油管中有閥16、油泵15、球閥7、過濾器3、流量計11、球閥5和10、絞盤總成8及加油槍等。油液是經過濾并計量后給受油容器加油的。為防止系統壓力超過規定值,在油
泵進出口之間并聯了一個安全閥14。過濾器安裝在油泵出油管路上,也可安裝在油泵進油管路上。流量計設置在油液過濾后的油路上,用于監測加油量。為了監測主要部件的工作情況和某些加油性能,在油路上可設置一些監測儀表。如在油泵出口安裝壓力表,監測油泵的工作壓力,在油泵進油口安裝無休止空壓力表,監測油泵進口真空安裝大小隨時掌握油泵的工作情況,在過濾器上安裝壓差表,監測過濾器進出口壓力差,基壓差大于某一值,表示濾芯已堵塞,應立即進行清理,若壓差小于另一值,表示濾芯已被擊穿,則應更換。操縱各種閥門的開啟或關閉實現上述五種功能。當開啟閥門5、7、10、16時,罐中油液經油泵、 管道、閥7、過濾器3、流量計11、閥10或5給受油容器加油;當開啟閥門16、19時,罐內油液經閥16、油泵15、閥19返回油罐進行內部循環,攪勻罐內油液,當開啟閥4、13時,可起泵站作用,即將油庫或其它貯油設備的油料經本車油泵輸給受油設備,當開啟閥4、19時,為本車油罐自吸裝油。閥17、18用來排放罐內的水分和沉淀的雜質。

?。?)油路系統的布置,油路系統在汽車上布置時,為充分利用汽車上的空間位置和方便操縱,通常裝整個油路系統分作為兩大部分。油路前段主要做為輸送油液的油路,
本文地址:http://www.yhqlc.com/news/jszl/789.html ,轉發請注明來源于:www.yhqlc.com






